PPH G41F-10S Type A Flanged Diaphragm Valve DN15-300 1/2"-12" ANSI Standard

Industrial High-Temperature Soft-Sealed Manual PPH Diaphragm Valve para sa Supply ng Tubig, ANSI Standard
Paglalapat: Pangkalahatang Supply ng Tubig
Katamtamang Temperatura: Mataas, Katamtaman
Power Supply: Manwal
Daluyan: Acid
Laki ng Port: DN15–DN300
Istraktura: Diaphragm
Pangalan ng Produkto: PPH Diaphragm Valve
Koneksyon: Flanged End
Sertipiko: ISO9001
Klase ng Presyon: 1.0Mpa(10bar)
Uri ng Valve: 1-Way
Pagtatatak: EPDM F46
Oras ng Paghahatid: 7 Araw
Minimum na Dami ng Order: 1 Piece

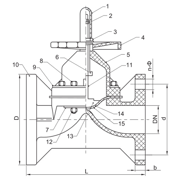
Mga Tampok ng Istruktura ng Produkto
1. Ang sealing diaphragm ay gawa sa F46 o PFA, na may flexing endurance na ≥120,000 cycle at corrosion resistance na katumbas ng F4.
2. Ang balbula ay gumagamit ng istrakturang nakakataas ng tornilyo, na nagtatampok ng mababang operating torque at mahusay na katatagan.

Listahan ng Temperature Bound ng App

materyal Katamtamang temperatura ℃ materyal Katamtamang temperatura ℃
PVC-C -20 ℃~ 95 ℃ PVC-U -5 ℃~ 45 ℃
FRPP -20℃~ 120℃ PPH -20 ℃~ 110 ℃
PVDF 40 ℃~ 150 ℃
Bahagi ng Materyal na Talahanayan
Hindi. Pangalan materyal Qty.
1 Limitasyon sa Cover AS 1
2 tornilyo bakal 1
3 Pagpapanatili ng Nut 65Mn 1
4 gulong FRPP,FRPP,FRPP,PPH,FRPP 1
5 Bonnet PVC-C,PVC-U,PVDF,PVDF,FRPP 1
6 Nut tanso 1
7 Platen bakal
8 tornilyo bakal
9 Platen bakal
10 Katawan Stell
11 stem PVC-C,PVC-U,PVDF,PVDF,FRPP 1
12 Nut Cap PVC-C,PVC-U,PVDF,PPH,FRPP 1
13 Disc PVDF, Bakal 1
14 Flim EPDM 1
15 Dayapragm F46/PFA/PTFE 1

Listahan ng Dimensyon

Pagtutukoy d
(mm)
D
(mm)
L
(mm)
b
(mm)
n-Ф
(mm)
1/2"(15) 60 95 125 14 4-Φ16
3/4"(20) 70 115 135 18 4-Φ16
1"(25) 79 115 145 18 4-Φ16
1¼"(32) 89 135 160 18 4-Φ18
1½"(40) 98 145 180 20 4-Φ19
2"(50) 121 160 210 22 4-Φ19
2½"(65) 140 180 250 24 4-Φ19
3"(80) 152 195 300 24 8-Φ19
4"(100) 191 229 350 26 8-Φ19
5"(125) 216 250 400 30 8-Φ22
6"(150) 241 280 455 30 8-Φ23
8"(200) 299 343 570 40 8-Φ23
10"(250) 362 406 680 40 12-Φ23

Feedback ng Mensahe
Tungkol sa Amin
Kaixin Pipeline Technologies Co., Ltd.
Itinatag noong 1999, Kaixin Pipeline Technologies Co., Ltd. ay isang high-tech na negosyo na nagsasama ng R&D, pagmamanupaktura, pagbebenta, at serbisyo. Ang kumpanya ay nagtataglay ng maraming prestihiyosong sertipikasyon, kabilang ang National High-Tech Enterprise, "Little Giant" Specialized at Sophisticated SME, National Single Product Champion (Cultivation), Provincial Technology-based SME, Ningbo Specialized at Sophisticated SME, Ningbo Single Product Champion (Cultivation), Ningbo Polymer Pipe & Valve Technology R&D Center, Factory-Level Technology R&D Center, at Factory-Inn. Antas 2 ng Kapabilidad ng Pamamahala sa Kapanahunan.
Dalubhasa kami sa pagbuo, paggawa, at pagbibigay ng mga produktong hindi lumalaban sa kaagnasan para sa mga kemikal, kabilang ang mga plastic valve, pipe, pipe fitting, at corrosion-resistant pump. Ang aming portfolio ng produkto ay sumasaklaw sa mga materyales tulad ng PVC-C, PVC-U, PVDF, PPH, at FRPP, na may komprehensibong hanay ng mga uri at detalye. Kapansin-pansin, ang aming mga butterfly valve ay maaaring umabot sa DN1000 ang diyametro, habang ang mga pipe at fitting ay umaabot hanggang DN800, tinutugunan ang mga agwat sa merkado at pinapanatili ang aming mapagkumpitensyang kahusayan sa industriya.
Ginagabayan ng prinsipyo ng “Technology-Driven, Keeping Pace with the Times,” ang Kaixin ay naglalaan ng halos RMB 10 milyon taun-taon sa R&D. Tinitiyak namin ang napakahusay na kalidad ng produkto sa pamamagitan ng standardized na automated na pagmamanupaktura at mahigpit na pagkuha ng mga imported na hilaw na materyales. Nakaayon sa aming internasyonal na diskarte sa pag-unlad, patuloy naming sinusubaybayan ang mga trend ng pandaigdigang merkado at ginagamit ang mga digital na channel upang magdala ng mga de-kalidad na produkto na "Made in China" sa mga customer sa buong mundo.
Ningbo • Fenghua R&D at Production Base
Sa kabuuang puhunan na RMB 200 milyon, ang Kaixin Ultra-Pure Pipe Technology (Ningbo) Co., Ltd. ay nagtatag ng bagong laboratoryo ng mga materyales sa pakikipagtulungan sa mga unibersidad at mga instituto ng pananaliksik, nagtayo ng modernong manufacturing base, at nag-install ng 8 ganap na automated na linya ng produksyon para sa binagong mga plastik at 8 para sa mga polymer na materyales. Ang pasilidad ay nakatuon sa R&D, produksyon, at aplikasyon ng mga bagong binagong plastik at polymer na materyales. Nakatuon din ang Kaixin sa pag-akit ng mga nangungunang talento sa iba't ibang disiplina, patuloy na nagtutulak sa pagbabago ng produkto at pagbuo ng tatak, na may layuning maging isang kinikilalang pinuno sa buong mundo sa R&D at paggawa ng mga polymer valve, pipe, at fitting.
Sertipiko ng karangalan
  • honor
  • honor
  • honor
  • honor
  • honor
  • honor
  • honor
  • honor
  • honor
Balita