PVDF H41F-10F Vertical Check Valve DN15-300 1/2"-12" ANSI Standard

White PVDF Ball Check Valve Custom Long-Life Plastic PVDF Hydraulic Vertical Check Valve para sa Water Treatment Industry ANSI Standard
Pinagmulan: China
Brand: KXPV
Modelo: H41F-10F
Paglalapat: Pangkalahatan
Materyal: Plastic
Kulay: Puti
Katamtamang Temperatura: Katamtaman, Ambient
Presyon: Katamtamang Presyon
Power Supply: Manwal
Daluyan: Acid
Laki ng Port: DN15–DN300
Istraktura: Check Valve
Pangalan ng Produkto: Vertical Check Valve
Koneksyon: Flanged End
Klase ng Presyon: 1.0Mpa(10bar)
Pagpapatakbo: Handwheel
Material ng Katawan: Plastic
Oras ng Paghahatid: 7 Araw

Mga Tampok ng Istruktura ng Produkto

1.Paglaban sa Kaagnasan
Ang balbula ay ginawa mula sa mga bagong plastik na materyales, na nagbibigay ng malakas na paglaban sa kaagnasan laban sa iba't ibang acidic at alkaline na media.
2. Malaking Kapasidad ng Daloy
Ang balbula ay idinisenyo na may isang makatwirang istraktura na binabawasan ang resistensya ng pipeline, na nagpapahintulot sa daluyan na dumaloy nang maayos at binabawasan ang pagkawala ng presyon habang tinitiyak ang daloy.
3. Pag-andar ng Check Valve
Sa isang simpleng istraktura at kaunting panlabas na impluwensya, nag-aalok ito ng mahusay na pag-iwas sa backflow.
4.Compact at Magaan
Ang balbula ay may maliit at compact na disenyo, na ginagawa itong perpekto para sa pag-install sa masikip na espasyo

Listahan ng Bound sa Temperatura ng App

materyal Katamtamang temperatura ℃ materyal Katamtamang temperatura ℃
PVC-C -20 ℃~ 95 ℃ PVC-U -5 ℃~ 45 ℃
FRPP -20℃~ 120℃ PPH -20 ℃~ 110 ℃
PVDF 40 ℃~ 150 ℃

Bahagi ng Materyal na Talahanayan
Hindi. Pangalan materyal Qty.
PVC-C PVC-U PVDF PPH FRPP
1 Katawan PVC-C PVDF PPH FRPP 1
2 Ball Core PVC-C PVDF-C PVC-C 1
3 Nagtatatak ng goma FPM 1
4 Seal upuan PVC-C PVC-U PVDF PPH FRPP 1

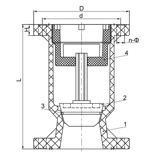
Listahan ng Dimensyon

Pagtutukoy d(mm) D(mm) L(mm) b(mm) n-Φ(mm)
2"(50) 121 160 185 22 4-Φ19
4"(100) 191 215 285 25 8-Φ19
5"(125) 216 245 357 31 8-Φ22
6"(150) 241 280 410 30 8-Φ23
8"(200) 299 335 400 35 8-Φ23
10"(250) 362 406 450 38 12-Φ25

Feedback ng Mensahe
Tungkol sa Amin
Kaixin Pipeline Technologies Co., Ltd.
Itinatag noong 1999, Kaixin Pipeline Technologies Co., Ltd. ay isang high-tech na negosyo na nagsasama ng R&D, pagmamanupaktura, pagbebenta, at serbisyo. Ang kumpanya ay nagtataglay ng maraming prestihiyosong sertipikasyon, kabilang ang National High-Tech Enterprise, "Little Giant" Specialized at Sophisticated SME, National Single Product Champion (Cultivation), Provincial Technology-based SME, Ningbo Specialized at Sophisticated SME, Ningbo Single Product Champion (Cultivation), Ningbo Polymer Pipe & Valve Technology R&D Center, Factory-Level Technology R&D Center, at Factory-Inn. Antas 2 ng Kapabilidad ng Pamamahala sa Kapanahunan.
Dalubhasa kami sa pagbuo, paggawa, at pagbibigay ng mga produktong hindi lumalaban sa kaagnasan para sa mga kemikal, kabilang ang mga plastic valve, pipe, pipe fitting, at corrosion-resistant pump. Ang aming portfolio ng produkto ay sumasaklaw sa mga materyales tulad ng PVC-C, PVC-U, PVDF, PPH, at FRPP, na may komprehensibong hanay ng mga uri at detalye. Kapansin-pansin, ang aming mga butterfly valve ay maaaring umabot sa DN1000 ang diyametro, habang ang mga pipe at fitting ay umaabot hanggang DN800, tinutugunan ang mga agwat sa merkado at pinapanatili ang aming mapagkumpitensyang kahusayan sa industriya.
Ginagabayan ng prinsipyo ng “Technology-Driven, Keeping Pace with the Times,” ang Kaixin ay naglalaan ng halos RMB 10 milyon taun-taon sa R&D. Tinitiyak namin ang napakahusay na kalidad ng produkto sa pamamagitan ng standardized na automated na pagmamanupaktura at mahigpit na pagkuha ng mga imported na hilaw na materyales. Nakaayon sa aming internasyonal na diskarte sa pag-unlad, patuloy naming sinusubaybayan ang mga trend ng pandaigdigang merkado at ginagamit ang mga digital na channel upang magdala ng mga de-kalidad na produkto na "Made in China" sa mga customer sa buong mundo.
Ningbo • Fenghua R&D at Production Base
Sa kabuuang puhunan na RMB 200 milyon, ang Kaixin Ultra-Pure Pipe Technology (Ningbo) Co., Ltd. ay nagtatag ng bagong laboratoryo ng mga materyales sa pakikipagtulungan sa mga unibersidad at mga instituto ng pananaliksik, nagtayo ng modernong manufacturing base, at nag-install ng 8 ganap na automated na linya ng produksyon para sa binagong mga plastik at 8 para sa mga polymer na materyales. Ang pasilidad ay nakatuon sa R&D, produksyon, at aplikasyon ng mga bagong binagong plastik at polymer na materyales. Nakatuon din ang Kaixin sa pag-akit ng mga nangungunang talento sa iba't ibang disiplina, patuloy na nagtutulak sa pagbabago ng produkto at pagbuo ng tatak, na may layuning maging isang kinikilalang pinuno sa buong mundo sa R&D at paggawa ng mga polymer valve, pipe, at fitting.
Sertipiko ng karangalan
  • honor
  • honor
  • honor
  • honor
  • honor
  • honor
  • honor
  • honor
  • honor
Balita